• <tr id="ii00i"></tr>
  • <nav id="ii00i"><sup id="ii00i"></sup></nav>
  • <nav id="ii00i"></nav>
  • <tfoot id="ii00i"><noscript id="ii00i"></noscript></tfoot>
    <tfoot id="ii00i"><noscript id="ii00i"></noscript></tfoot>
  • <tfoot id="ii00i"><noscript id="ii00i"></noscript></tfoot>
    天天成人综合网,亚洲人妻资源网,欧美精品网,国产黑丝袜在线观看视频,蜜桃av一卡二卡三卡,激情综合图区,亚洲avav,亚洲av电影天堂网

    您好!歡迎光臨烜芯微科技品牌官網!

    深圳市烜芯微科技有限公司

    ShenZhen XuanXinWei Technoligy Co.,Ltd
    二極管、三極管、MOS管、橋堆

    全國服務熱線:18923864027

  • 熱門關鍵詞:
  • 橋堆
  • 場效應管
  • 三極管
  • 二極管
  • 6種電流測量方法的優缺點對比
    • 發布時間:2020-07-24 16:07:34
    • 來源:
    • 閱讀次數:
    6種電流測量方法的優缺點對比
    電流檢測被用來執行兩個基本的電路功能。首先,是測量“多大”電流在電路中流動,這個信息可以用于DC/DC電源中的電源管理,來判定基本的外圍負載,來實現節能。第二個功能是當電流“過大”或出現故障時,做出判斷。如果電流超過了安全限值,滿足軟件或硬件互鎖條件,就會發出一個信號,把設備關掉,比如電機堵轉或電池中發生短路的情況。因此有必要選擇一種能承受故障過程中極端條件的魯棒性設計的技術。采用適當的元器件來執行測量功能,不但能獲得準確的電壓信號,還能防止損壞印制電路板。
    測量方法
    有各種不同的測量方法能產生提示“多大”或“過大”的信號,如下:
    電阻式(直接)
    檢流電阻。
    磁(間接)
    電流互感器;
    羅氏線圈;
    霍爾效應器件。
    晶體管(直接)
    RDS(ON);
    比率式。
    每種方法都有其優點,是有效的或可接受的電流測量方法,但也各有利弊,這一點對應用的可靠性至關重要。這些測量方法可分為兩類:直接的,或間接的。直接方法的意思是直接連到被測電路里,測量元件會受到線電壓的影響,間接方法的測量元件與線電壓是隔離的,在產品的安全性有要求時有必要采用間接方法。
    電阻式
    檢流電阻
    用電阻測量電流是一種直接方法,優點是簡單,線性度好。檢流電阻與被測電流放在一個電路里,流經電阻的電流會使一小部分電能轉化為熱。這個能量轉換過程產生了電壓信號。除了簡單易用和線性度好的特點,檢流電阻的性價比也很好,溫度系數(TCR)穩定,可以達到100 ppm/℃以下或0.01%/℃,不會受潛在的雪崩倍增或熱失控的影響。還有,低阻(小于1mΩ)的金屬合金檢流電阻的抗浪涌能力非常好,在出現短路和過流情況時,能實現可靠的保護。
    電流互感器
    電流互感器(圖1)有三個突出優點:與線電壓隔離,無損測量電流,大信號電壓能很好地抵御噪聲。這種間接測量電流的方法要求用到變化的電流,例如交流電,瞬變電流或開關式直流電,來產生一個磁耦合到次級繞組里的變化磁場。次級測量電壓可以根據在初級和次級繞組間的匝數比實現縮放。這種測量方法被認為是“無損的”,因為電路電流通過銅繞組時的電阻損耗非常小。但是,如圖2所示,由于負載電阻、芯損,以及初級和次級直流電阻的存在,互感器的損耗會導致失去一小部分能量。
    電流測量方法
    圖1,理想的電流互感器電路
    電流測量方法
    圖2,電流互感器損耗的組成
    羅氏線圈
    羅氏線圈(圖3)類似于電流互感器,會在次級線圈內會感應產生一個電壓,電壓大小與流經隔離電感器的電流程正比。特殊之處在于,羅氏線圈采用的是氣芯設計,這一點與依賴層壓鋼等高磁導率鐵芯和次級繞組磁耦合的電流互感器完全不同。氣芯設計的電感較小,有更快的信號響應和非常線性的信號電壓。由于采用了這種設計,羅氏線圈經常被用在像手持電表這樣的已有接線上,臨時性地測量電流,可以認為是電流互感器的低成本替代方案。
    電流測量方法
    圖3
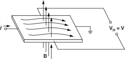
    霍爾效應
    當一個帶電流的導體被放進磁場里時(圖4),在垂直于磁場和電流流動方向上會產生電位差。這個電位與電流大小成正比。在沒有磁場和電流流過時,就沒有電位差。但如圖5所示,當有磁場和電流流過時,電荷與磁場相互作用,引起電流分布發生變化,這樣就產生了霍爾電壓。
    霍爾效應元件的優點是能測量大電流,而且功率耗散小。然而,這種方法也有不少缺點,限制其使用,例如要對非線性的溫度漂移進行補償;帶寬有限;對小量程的電流進行測量時,要求使用大偏置電壓,這會引起誤差;易受外部磁場的影響;對ESD敏感;成本高。
    電流測量方法
    圖4,霍爾效應原理,無磁場
    電流測量方法
    圖5,霍爾效應原理,有磁場
    晶體管
    RDS(ON) -漏極到源極的導通電阻
    由于晶體管對電路設計來說是標準的控制器件,不需要電阻或消耗能量的器件來提供控制信號,因此晶體管被認為是沒有能量損失的過流探測方法。晶體管數據表給出了漏極到源極的導通電阻(RDS(ON)),功率MOSFET的典型電阻一般在毫歐范圍內。這個電阻由幾部分組成,首先是連到半導體裸晶的引線(圖6),這部分電阻影響了很多溝道特性?;谶@個資料,流經MOSFET的電流可以用公式 ILoad = VRDS(ON) / RDS(ON)計算得出。
    由于界面區域電阻的微小變化和TCR效應,RDS(ON)的每個組成部分都會造成測量誤差。通過測量溫度,及用由溫度引起的電阻預期變化來修正被測電壓,可以對TCR效應部分地加以補償。很多時候,MOSFET的TCR會高達4000ppm/℃,相當于溫度上升100℃,電阻的變化達到40%。通常來說,這種測量方法的信號精度大約為10%~20%。從應用對精度的要求來看,對于提供過壓保護來說,這個精度范圍是可以接受的。
    電流測量方法
    圖6 ,N溝道增強型MOSFET的簡化模型
    比率式 - 電流檢測MOSFET
    MOSFET由成千上萬個能降低導通電阻的并聯的晶體管元胞構成。檢流MOSFET使用一少部分并聯元胞,連到共柵極和漏極,但源極是分開的(圖7)。這樣就產生了第2個隔離的晶體管,即“檢測”晶體管。當晶體管導通時,流經檢測晶體管的電流與流經其他元胞的主電流成一定比例。
    精度公差的范圍取決于具體的晶體管產品,低的達到5%,高的可以達到15%到20%。這種方法通常不適合一般要求測量精度達到1%的電流控制應用,但適合過流和短路保護。
    電流測量方法
    圖 7
    從上面的總結表可以看出,探測電路中電流的方法有很多種,要根據應用特定的需求來選擇合適的方法。每種方法均有其優點和短板,這些因素都要在設計中加以仔細考量。
    烜芯微專業制造二極管,三極管,MOS管,橋堆等20年,工廠直銷省20%,4000家電路電器生產企業選用,專業的工程師幫您穩定好每一批產品,如果您有遇到什么需要幫助解決的,可以點擊右邊的工程師,或者點擊銷售經理給您精準的報價以及產品介紹
    相關閱讀