• <tr id="ii00i"></tr>
  • <nav id="ii00i"><sup id="ii00i"></sup></nav>
  • <nav id="ii00i"></nav>
  • <tfoot id="ii00i"><noscript id="ii00i"></noscript></tfoot>
    <tfoot id="ii00i"><noscript id="ii00i"></noscript></tfoot>
  • <tfoot id="ii00i"><noscript id="ii00i"></noscript></tfoot>
    天天成人综合网,亚洲人妻资源网,欧美精品网,国产黑丝袜在线观看视频,蜜桃av一卡二卡三卡,激情综合图区,亚洲avav,亚洲av电影天堂网

    您好!歡迎光臨烜芯微科技品牌官網!

    深圳市烜芯微科技有限公司

    ShenZhen XuanXinWei Technoligy Co.,Ltd
    二極管、三極管、MOS管、橋堆

    全國服務熱線:18923864027

  • 熱門關鍵詞:
  • 橋堆
  • 場效應管
  • 三極管
  • 二極管
  • 什么是漏極 源極 柵極與場效應管的結構原理解析
    • 發布時間:2020-09-08 17:36:36
    • 來源:
    • 閱讀次數:
    什么是漏極 源極 柵極與場效應管的結構原理解析
    場效應管
    場效應管一般的晶體管是由兩種極性的載流子,即多數載流子和反極性的少數載流子參與導電,因此稱為雙極型晶體管,而FET僅是由多數載流子參與導電,它與雙極型相反,也稱為單極型晶體管。
    它屬于電壓控制型半導體器件,具有輸入電阻高(108~109Ω)、噪聲小、功耗低、動態范圍大、易于集成、沒有二次擊穿現象、安全工作區域寬等優點,現已成為雙極型晶體管和功率晶體管的強大競爭者。
    場效應管的結構原理解析
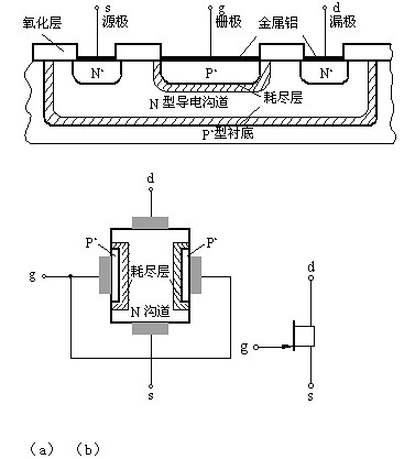
    在兩個高摻雜的P區中間,夾著一層低摻雜的N區(N區一般做得很薄),形成了兩個PN結。在N區的兩端各做一個歐姆接觸電極,在兩個P區上也做上歐姆電極,并把這兩P區連起來,就構成了一個場效應管。如圖所示:
    場效應管,漏極
    N型導電溝道結型場效應管的電路符號
    將兩個P區的引出線連在一起作為一個電極,稱為柵極(g),在N型硅片兩端各引出一個電極,分別稱為源極(s)和漏極(d),很薄的N區稱為導電溝道。共漏極放大電路——源極輸出器
    場效應管,漏極
    共漏極放大電路也具有電壓放大倍數小于1,但接近1;輸出電壓與輸入電壓同相;輸入電阻高,輸出電阻低的特點。
    什么是漏極
    將兩個P區的引出線連在一起作為一個電極,稱為柵極,在N型硅片兩端各引出一個電極,分別稱為源極和漏極,很薄的N區稱為導電溝道。共漏極放大電路——源極輸出器。柵極簡稱為G,源極簡稱為S,漏極簡稱為D。
    開漏形式電路的特點
    1.利用外部電路的驅動能力,減少IC內部的驅動,?或驅動比芯片電源電壓高的負載。
    2.可以將多個開漏輸出的Pin,連接到一條線上。通過一只上拉電阻,在不增加任何器件的情況下,形成“與邏輯”關系。這也是I2C,SMBus等總線判斷總線占用狀態的原理。
    3.由于漏級開路,所以后級電路必須接一上拉電阻,上拉電阻的電源電壓就可以決定輸出電平。這樣就可以進行任意電平的轉換了。
    4.源極開路提供了靈活的輸出方式,但是也有其弱點,就是帶來上升沿的延時。因為上升沿是通過外接上拉無源電阻對負載充電,所以當電阻選擇小時延時就小,但功耗大;反之延時大功耗小。所以如果對延時有要求,則建議用下降沿輸出。
    烜芯微專業制造二極管,三極管,MOS管,橋堆等20年,工廠直銷省20%,4000家電路電器生產企業選用,專業的工程師幫您穩定好每一批產品,如果您有遇到什么需要幫助解決的,可以點擊右邊的工程師,或者點擊銷售經理給您精準的報價以及產品介紹
    相關閱讀